江门市建筑市场信用信息管理系统

已有帐号的企业请点击“企业登录”按钮,使用帐号和密码成功登录后即进行信用管理。
未有帐号的企业请点击“企业登记”按钮,正确填写登记信息后,即可进行信用管理。

企业登录 企业登记

企业登记后请加QQ群652606268,接收本信用管理系统的通知公告、政策文件

各信用登记企业:住建局已发布《关于暂停房屋市政工程领域建筑业企业信用管理评价部分条款及结果应用的通知》,此通知自2024年7月1日起执行,暂停实施期间,不再受理有关评分项新的申报材料,既有评分到期后失效。
重要提示:2024年1月1日起,对全市范围内纳入实名制考勤的项目实施信用评价(首次评价采集2023年12月份的数据),请各项目施工、监理单位做好实名制系统考勤数据的上传、自检工作,确保项目主要管理人员实名制考勤信用管理达标。
重要提示:江门市智慧工地监管平台-实名制管理子系统即将与江门市建筑市场信用信息管理系统完成数据对接,工程项目的人员在岗率信用加分自动公布和扣分自动处理。请在江门市有建设工程项目的信用系统登记企业,登录江门市智慧工地监管平台,按项目情况,在”停复工申请“或”完竣工申请“中填写停工或竣工日期。如因企业未完善智慧工地监管平台数据造成的信用加分或扣分不正确,后果由企业自行承担。
江门市智慧工地监管平台-实名制管理子系统(登录网址:http://jmzhgd.jiangmen.cn/login
重要提示:《授权委托及承诺书》有效期为1年,请各信用管理登记企业检查《授权委托及承诺书》有效截止日期,提前续传《授权委托及承诺书》,确认状态为核查通过,以免影响各企业的信用得分、信用等级等信用评价信息正常显示,保障各企业正常参加招投标活动。

企业评价信息

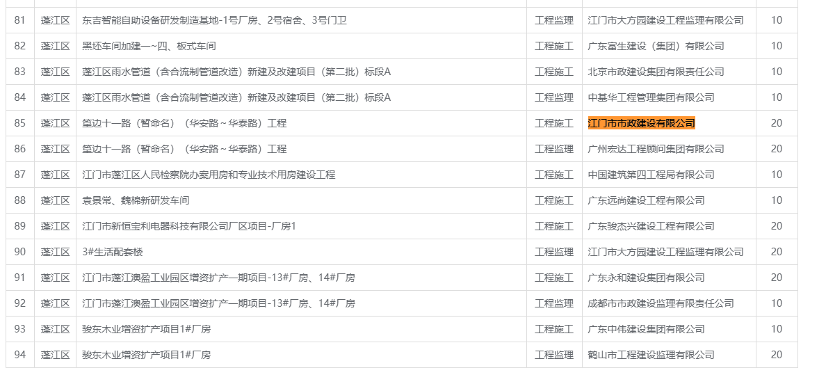
企业名称: 江门市市政建设有限公司
编号: A1-49
类别名称: (人员月在岗率及人员月在岗时长=100%)对纳入实名制管理的房屋市政项目,项目负责人和专职安全员在一个月内均达到以下在岗率,企业可申请加分,上限150分。(最后计算结果四舍五入并精确到0.01)。人员月在岗率:当月在岗天数/当月应在岗天数,人员月在岗时长:当月在岗累计时长/当月工作日天数×8
评价依据: 行政主管部门公布的名单或文件、良好信用行为加分通知书
发文单位: 江门市市政建设有限公司
发文编号: \
申报得分: 20.00
开始生效(发文)日期: 2025年12月19日
有效期: 3 月
描述:
分数说明: 每个项目加20分
分数有效说明: 3个月
工程项目名称: 篁边十一路(暂命名)(华安路~华泰路)工程
公示结束日期:
附件资料:
行政主管部门公布的名单或文件、良好信用行为加分通知书