江门市建筑市场信用信息管理系统

已有帐号的企业请点击“企业登录”按钮,使用帐号和密码成功登录后即进行信用管理。
未有帐号的企业请点击“企业登记”按钮,正确填写登记信息后,即可进行信用管理。

企业登录 企业登记

企业登记后请加QQ群652606268,接收本信用管理系统的通知公告、政策文件

重要提示:江门市智慧工地监管平台-实名制管理子系统即将与江门市建筑市场信用信息管理系统完成数据对接,工程项目的人员在岗率信用加分自动公布和扣分自动处理。请在江门市有建设工程项目的信用系统登记企业,登录江门市智慧工地监管平台,按项目情况,在”停复工申请“或”完竣工申请“中填写停工或竣工日期。如因企业未完善智慧工地监管平台数据造成的信用加分或扣分不正确,后果由企业自行承担。
江门市智慧工地监管平台-实名制管理子系统(登录网址:http://jmzhgd.jiangmen.cn/login
重要提示:《授权委托及承诺书》有效期为1年,请各信用管理登记企业检查《授权委托及承诺书》有效截止日期,提前续传《授权委托及承诺书》,确认状态为核查通过,以免影响各企业的信用得分、信用等级等信用评价信息正常显示,保障各企业正常参加招投标活动。

企业评价信息

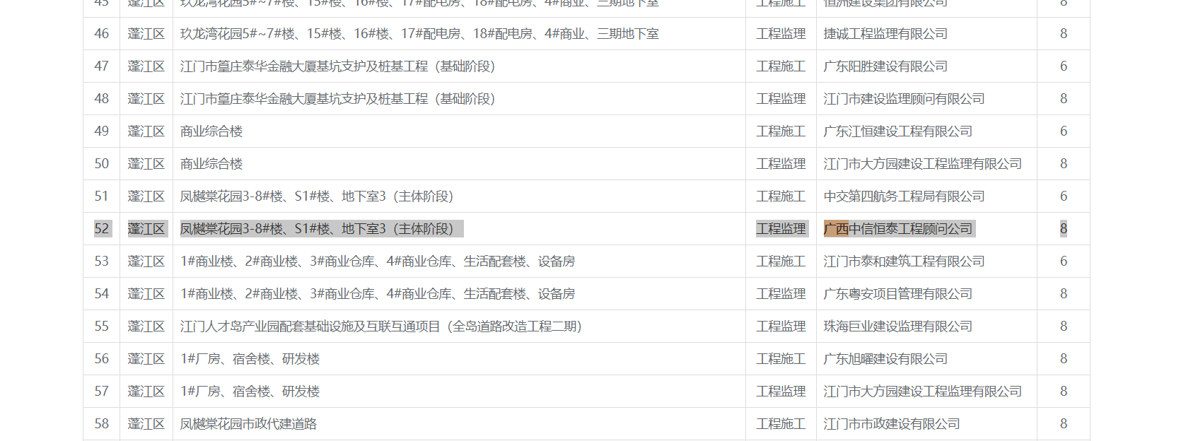
企业名称: 广西中信恒泰工程顾问有限公司
编号: B1-24
类别名称: 90%≤人员月在岗率、人员月在岗时长,对纳入实名制管理的房屋市政项目,总监理工程师和专业监理工程师在一个月内均达到以下在岗率,企业可申请加分,上限150分。(最后计算结果四舍五入并精确到0.01)。人员月在岗率:当月在岗天数/当月应在岗天数,总监月在岗时长:当月在岗累计时长/当月工作日天数×2.5,专监月在岗时长:当月在岗累计时长/当月工作日天数×8。
评价依据: 建筑市场信用信息管理系统公布的名单
发文单位: 江门市建筑业协会
发文编号: B1-24
申报得分: 8.00
开始生效(发文)日期: 2026年02月15日
有效期: 3 月
描述: 上限150分(最后计算结果四舍五入并精确到0.01)
分数说明:
分数有效说明: 3个月
工程项目名称: 凤樾棠花园3-8#楼、S1#楼、地下室3(主体阶段)
公示结束日期:
附件资料:
建筑市场信用信息管理系统公布的名单